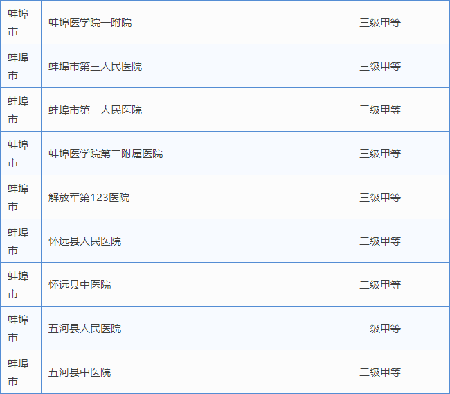
蚌埠哪些家医院接入国家异地就医结算系统
截至8月15日
全国所有省级异地就医结算系统、所有统筹地区均已实现与国家异地就医结算系统对接。全国5843家定点医疗机构已接入国家异地就医结算系统,可以提供跨省异地就医住院医疗费用直接结算服务。
有跨省异地就医需求的参保人员,按参保地相关规定进行跨省异地就医登记备案,可从本次公布的名单中选择定点医疗机构就医,实现跨省异地就医住院医疗费用直接结算。
开通跨省异地就医直接结算服务之前已备案的参保人员请主动到参保地经办机构更新相关备案信息。


为方便跨省异地就医人员选择备案统筹地区、跨省就医定点医疗机构,遇到问题及时与参保地经办机构取得联系,现将跨省定点医疗机构和社会保险经办机构相关信息予以发布。参保人员可以登录网址:
Http://si.12333.gov.cn
实时在线查询地区、定点医疗机构、备案信息、经办机构相关信息




